LG 전자의 롤러블 폰 'B 프로젝트'
LG전자가 또 다른 폼팩터의 새로운 스마트폰인 '롤러블 폰'을 내년 초 출시를 목표로 개발하고 있다는 소식이 들려왔습니다. IT 매체인 'WCCtech'는 CES 2021 혹은 'MWC2021' 행사에서 LG 전자가 만드는 롤러블 폰의 모습을 만나볼 수 있을 것이라고 보도했는데요. (엌ㅋㅋㅋ 상소문 에디션이 실제로??)
국내 매체의 기사에서 확인할 수 있는 바로는 이 롤러블 폰의 코드네임이 'B 프로젝트'로 확인되었다고 합니다. 'B 프로젝트'에 들어간 이니셜 'B'가 롤러블 폰과 관련있는 기술적인 단어는 아니고요. LG전자의 '권봉석' CEO 이름의 가운데 글자인 '봉(Bong)'의 B라고 합니다. 그만큼 CEO가 신경쓰고 힘을 주어 진행하는 프로젝트라는 의미 같습니다.

롤러블 폰
'아이폰 3GS'가 우리 생활에 처음 소개된 이후로 스마트폰은 벽돌 모양의 폼팩터에 갖혀있었습니다. 스마트폰의 뒷면에 어떤 로고가 박혀있는지 어떤 운영체제와 앱 스토어를 사용할 수 있는지에 따라 제품의 이름만 바뀔 뿐 스마트폰 자체의 모습은 대동소이했습니다.
그러다가 작년부터 폴더블 폰이 출시되고 벽돌폰으로 정형화되어 있던 스마트폰의 외형이 조금씩 바뀌고 있습니다. 폴더블 폰도 올해 출시된 '갤럭시 z플립'은 쓸만한 것 같더라구요. 실제로 생각보다 높은 흥행을 기록하기도 했구요. 또, LG 전자는 듀얼 스크린 액세서리를 출시해서 제법 호평과 함께 인기를 얻기도 했습니다.
폴더블 스마트폰 이후 또 다른 폼팩터로 '롤러블 폰'이 시장에 등장할 준비를 하고 있습니다. '롤러블 폰'은 디스플레이가 제품에 말려 있다가 필요할 때 주욱 잡아 당겨 크게 확장해 사용하는 식의 폼팩터를 갖는 스마트폰입니다. 커뮤니티에서는 좌우로 잡아당겨 사용하는 모습을 '상소문'에 빗대어 표현하기도 했습니다. ㅋㅋㅋ
LG 롤러블 폰 'B 프로젝트'
LG 전자가 연구하고 있는 롤러블 폰, 'B 프로젝트'의 정확한 모습은 아직 알려지지 않았습니다. LG 전자가 출원한 특허를 기반으로 예상해볼 뿐입니다.

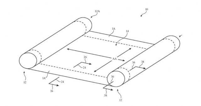
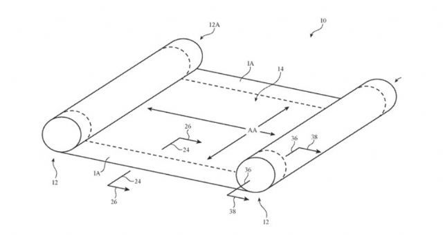
우선 'LETS GO DIGITAL'이 공개한 LG 전자의 롤러블 특허를 기반으로 살펴보자면 여러번 접히는 폴더블 폰의 특성을 가지고 있습니다. 4개의 힌지가 설치되어 있어 디스플레이를 4번 접어 스마트폰 본체에 둘둘 말아 놓은 폼팩터입니다.

평소에는 둘둘 말아뒀다가 폰을 사용할 때 펼쳐 놓고 사용하는 폼팩터입니다. 둘둘 말아서 휴대성은 극대화 시킬 수 있겠는데요. 펼쳐놨을 때 잘 쓸 수 있을지는 모르겠습니다.
스마트폰보다는 오히려 태블릿에서 더 좋을 것 같은 롤러블 폰입니다.

'Android Authority'는 지난 달에 공개된 LG 전자의 특허를 기반으로 'B 프로젝트'의 롤러블 폰을 예상했습니다. 평소에는 일반 바형 스마트폰으로 사용하다가 필요할 때 잡아 당겨서 디스플레이를 확장할 수 있는 형태입니다.
심지어 쭉 당겨놓은 상태에서 디스플레이를 살짝 접어 노트북처럼 사용할 수도 있다고 합니다. '갤럭시 폴드'처럼 완전히 접히는지는 알려져 있지 않습니다.

필요할 때 잡아당겨서 디스플레이를 확장하는 개념은 이미 'TCL'에서 프로토타입으로 공개한 적이 있습니다. 아마 위 GIF 이미지의 TCL 롤러블 폰과 비슷한 모습이 아닐까 생각됩니다. (TCL 제품역시 프로토타입으로 공개한 시제품이라 실제 사용할 수 있는 제품까지는 거리가 좀 있는 제품입니다.)

애플 역시 롤러블 디스플레이에 대한 특허를 출원했는데요. 폴더블과 함께 앞으로 많이 사용될 디스플레이 기술임에는 틀림없는 것 같습니다.
LG 롤러블 폰, BOE와 함께
'B 프로젝트'와 관련해서 재미있는 소식은 'LG 디스플레이'가 아닌 중국의 디스플레이 업체인 'BOE'와 함께 연구, 개발을 진행하고 있다는 사실입니다.

'말려' 있어야 하는 롤러블 폰의 디스플레이 특성상 '플렉서블 OLED' 디스플레이를 사용해야합니다. LG 그룹에는 LG 디스플레이가 관련 기술을 가지고 있는데요. 계열사인 LG 디스플레이가 아닌 중국의 'BOE'가 참여한다고 하니 참 묘하네요.

커뮤니티에서는 LG 디스플레이가 있음에도 중국산 BOE 디스플레이를 쓰는 것에 대해 품질 문제가 있지 않을까 우려를 표하기도 합니다. 전해지는 바에 의하면 LGD 대신 BOE를 택한 이유가 비용절감때문인 것으로 파악되고 있는데요. 새로운 폼팩터의 스마트폰이라고해도 롤러블 폰이라고 200만원이 넘은 초고가에 출시를 한다면 시장에서 외면 받을 가능성이 있기 때문입니다.
사실 폴더블 디스플레이에 비해서 롤러블 디스플레이는 요구되는 기술 수준이 덜 높다고 합니다. 폴더블 디스플레이의 경우 디스플레이가 거의 접히기 때문에 내구성 문제가 심각하게 생길 수 있는 반면 롤러블 폰은 디스플레이가 접히지 않고 말리는 형태기 때문에 덜 구부러져도 됩니다. (종이를 접었다 펴면 접은 자국이 생기지만 둘둘말면 접힌 자국이 안생기는 것을 생각하면 됩니다.)
대신 롤러블 폰은 디스플레이를 잘 말아두는 공간을 확보하고 잡아당겨서 고정시킬 수 있는 부품과 설계, 디스플레이 자체가 걸리지 않고 잘 말리고 펼수 있는 설계가 중요합니다.
언론에 공개된 'B 프로젝트'의 향후 진행 과정은 다음과 같습니다. 우선 올 7월 경기도 평택에 있는 생산라인에서 첫 개발 제품의 시생산에 들어갑니다. 3~4회 가량의 프로토타입 생산을 통해 1000~2000대 가량의 제품을 생산한 다음 성능 테스트와 내구성 테스트를 거치면서 제품을 개량하게 됩니다.
테스트를 거쳐 완성도를 높이게 된다면 빠를 경우 내년에는 LG의 롤러블 폰 제품을 만나볼 수 있게 됩니다.
현재 LG 전자의 스마트폰 사업부(MC 사업본부)는 어려운 상황에 처해있습니다. MC 사업본부의 지난 1분기 실적은 매출이 9986억원, 2378억원 영업 손실을 기록했습니다. 영업손실율이 23.8%로 작년 같은기간과 비교해서 10% 이상 늘었습니다.

LG 전자는 이러한 상황을 타개하기 위해서 'LG 벨벳'을 출시했는데요. 올 하반기에는 '가로본능' 스마트폰인 '윙(Wing)'을 출시할 예정입니다.
가로본능이던 상소문이던 새로운 폼팩터에 대한 연구는 항상 환영할만하구요. LG 전자가 피쳐폰 시절 '싸이언(Cyon)'의 영광을 다시 찾아 다양한 제품들을 시장에 내놓아 주었으면 좋겠습니다.