[루머] 아이폰14 폴더블로 출시?
애플 매니아분들이 가장 기다리고 있는 제품 중 하나는 아마도 '접히는 아이폰', '아이폰 폴더블'이 아닐까 생각합니다. 삼성전자가 '갤럭시 폴드'를 출시한 이후 '갤럭시Z플립', '갤럭시Z폴드2'까지 출시했습니다. 세대가 넘어가면서 폴더블 폰의 완성도도 높아지고 있는데요. 아이폰이 만드는 폴더블 폰은 어떤 모습일지 궁금해집니다.
이런 가운데 2022년 9월에 출시될 '아이폰 14' 버전은 폴더블 스마트폰이 될 것이라는 전망이 나왔습니다. 소식에 의하면 이미 시제품까지 만들어져 테스트 중이라고 합니다.

대만의 '이코노믹데일리' 등 해외 매체는 애플이 하청업체인 폭스콘(Foxconn)에 아이폰 폴더블 버전을 보냈다고 보도했습니다. 구체적으로 2022년 9월에 출시될 예정이라는 정보까지 공개되었는데요. 올해 출시된 '아이폰12'와 내년에 출시될 '아이폰13'의 뒤를 잇는 '아이폰14'의 출시시기와 맞물립니다.
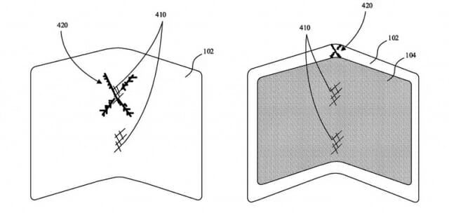
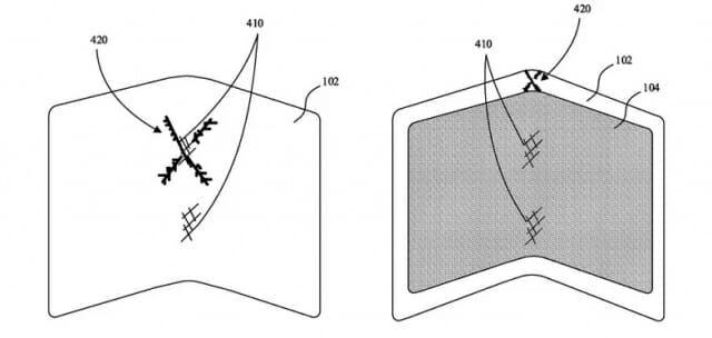
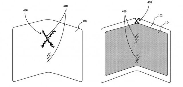
애플의 공급업체를 인용한 정보에 의하면 애플의 첫 번째 폴더블 아이폰 출시를 위해 디스플레이와 힌지부분의 베어링 등 핵심 부품에 대한 테스트가 진행되고 있습니다. 베어링의 경우 10만번 여닫기 동작을 견딜 수 있는지 확인 중인데요. 삼성전자의 갤럭시 폴드가 출시되었을 때에도 내구성이 큰 이슈가 되었던 적이 있습니다. 하루에도 여러번 여닫는 폴더블 스마트폰의 특성상 내구성이 민감하게 작용할 텐데요. 애플도 이런 점을 준비하고 있는 것 같습니다.
주요 매체에 의하면 폴더블 아이폰이 출시될 경우, 스마트폰에 사용되는 특수 베어링의 대량 생산 능력을 갖추고 있는 대만의 '뉴 니코(New Nikko)'라는 회사가 주요 공급을 담당하게 될 것이며 폭스콘이 최종 조립을 맡을 것으로 예상된다고 합니다.
디스플레이는 OLED와 마이크로LED 디스플레이가 검토되고 있다고 하는데요. 어떤 디스플레이를 사용하느냐에 따라서 제품 공정이 크게 바뀔 수 있습니다. 2년후면 마이크로LED 기술이 본격화 될 것 같습니다. 다만 접히는 폼팩터에서 얼마나 내구성을 가질지는 애플이 테스트해볼 일이죠.

이스라엘 매체인 '더베리파이어(The Verifier)'도 지난 10일 애플이 2022년 폴더블 아이폰을 출시할 수 있다고 보도했습니다. (관련기사) 더베리파이어에 의하면 애플이 폴더블 아이폰을 출시하면서 애플 미니를 단종 시킬 예정이라고 합니다. 폴더블 아이폰이 아이패드에 가까운 제품이 될 것이며 iPadOS를 사용할 것이라는 얘기도 있습니다.
애플이 출시할 폴더블 아이폰은 8GB 램에 256GB 스토리지가 제공되며, 가격은 $1,499부터 시작될 것으로 예상되었습니다. 공개 예정일은 2022년 11월이라고 합니다.

폴더블 스마트폰에 대한 관심이 증폭되면서 애플도 꾸준히 폴더블 스마트폰 기술에 대한 특허를 출원하고 있습니다. 삼성전자가 먼저 폴더블 스마트폰을 상용화하면서 폴더블 아이폰에 대한 기대는 더욱 커지고 있는데요. 지난 6월 IT 전문가 존 프로서에 의하면 폴더블 아이폰은 폴더블 디스플레이를 차용한 삼성전자의 갤럭시 폴드와 같은 형태가 아닌 마이크로소프트의 '서피스 듀오' 혹은 LG 전자의 '듀얼 스크린'과 같은 형태가 될 것이라고 전한바 있습니다.
지난 9월 애플이 삼성 디스플레이에 폴더블 디스플레이 샘플을 대량으로 주문했다는 보도가 있었는데요. 폴더블 아이폰의 패널은 삼성디스플레이가 제공할 것으로 보입니다. 완성도 높은 제품을 출시하는 걸로 유명한 애플이 어떤 폴더블 스마트폰을 만들지 기대가 됩니다.
추가내용
맥 루머스(macRumors)에 의하면 2개의 폴더블 아이폰 프로토타입이 내부 내구성 테스트를 통과했다고 합니다. 테스트를 마친 첫 폴더블 아이폰은 갤럭시 폴드 같은 제품보다는 LG의 듀얼 스크린에 가깝다고 합니다.