폴더블 아이폰 관련 소식들

폴더블 아이폰 특허 등록
IT 전문 매체 '애플 인사이더'는 지난 9일 애플이 미국 특허청에 '유연한 디스플레이를 갖춘 전자 장치'라는 이름의 특허를 등록했다고 보도했습니다.
이 특허는 추운 날씨에 깨지기 쉬운 폴더블 디스플레이를 보호하기 위한 방법에 대한 내용입니다. 디스플레이의 온도가 내려가지 않도록 발열체를 추가하거나 디스플레이 자체 픽셀을 조합해서 사용자가 화면을 구부리거나 접기 전에 온도를 높이는 방법에 대해서 다루고 있습니다.

폴더블 아이폰 디스플레이에 센서를 탑재해서 접었다 펴기에 안전한 온도인지를 감지합니다. 만약 온도가 너무 낮은 상태라면 사용자에게 경고를 보내 접었다펴는 행위를 하지 못하도록 할 수 있습니다.

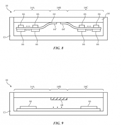
폴더블 아이폰의 저온 저항성을 높이기 위한 가장 간단한 방법은 디스플레이에 발열체를 추가하는 것입니다. 날이 추우면 핫팩을 붙이면 되죠. 디스플레이의 온도가 낮으면 높이는게 가장 간단한 방법입니다.
다만 이 경우 발열체와 발열체를 구동하기 위한 회로 등이 추가로 디스플레이에 추가되어야합니다. 이렇게 되면 추가로 공간이 필요하게 되고, 아이폰의 전반적인 설계에 영향을 주게됩니다.

대안으로는 디스플레이의 특성을 이용한 방법입니다. 디스플레이가 빛을 발산할 때 열도 함께 방출됩니다. 이 열을 이용해서 디스플레이의 온도를 올리는 방안이 있습니다. 폴더블 디스플레이의 접히는 부분과 같이 온도 조절이 필요한 부분의 픽셀을 밝게 만들어 좀 더 많은 열을 방출하도록 하는 방식입니다. 특허에는 스크린 세이버와 그래픽 시스템을 이용한 온도 조절 방법도 포함되었습니다.
폴더블 아이폰 예상
밍치궈 TF 인터네셔널 애널리스트는 폴더블 아이폰의 출시를 2023년으로 내다보고 있습니다. 폴더블 아이폰에는 7.5~8인치가량의 폴더블 디스플레이가 탑재될 것이라고 합니다. 펼쳤을 때에는 아이패드 미니의 화면과 비슷한 크기까지 커지며 접었을 때에는 아이폰 12 정도의 크기로 줄어들게 됩니다.
애플이 개발중인 폴더블 아이폰은 삼성전자와 마찬가지로 좌우로 접히는 모델과 위아래로 접히는 모델 두 종류로 알려졌습니다.
다만 폴더블 아이폰이 2023년에 출시될 것인지 여부는 올해 핵심 기술 및 대량 생산 문제를 해결할 수 있는지에 달렸다고 전망했으며 아직 폴더블 아이폰이 연구 개발 단계에 있는 폴더블 아이폰 개발을 애플이 계속하지 않기로 결정할 수도 있다고 합니다.
현재 애플은 폴더블 아이폰과 관련된 특허를 끊임없이 출원하고 있는데요. 기다리는 애플 팬들이 애가 닳겠습니다.

애플 폴더블 아이폰 2023년 출시
맥루머스 등 주요 외신들에 의하면 애플이 오는 2023년 8인치 OLED 디스플레이를 탑재한 폴더블 아이폰을 선보일 것이라고 보도했습니다. 밍치궈 애널리스트의 리포트를 인용한 보도인데요. 밍치궈는 애플이 삼성디스플레이에서 폴더블 디스플레이를 공급받고, 삼성전자 파운드리에서 디스플레이 구동칩(DDI)을 단독으로 공급할 것이라고 전했습니다.
애플이 공개할 것으로 예상되는 폴더블 아이폰은 8인치 디스플레이가 탑재될 것으로 보입니다. 여기에 QHD+ 해상도를 지원하며, 펼쳤을 때 태블릿 PC인 아이패드미니의 7.9인치 디스플레이보다 조금 더 커질 예정입니다. 삼성전자의 갤럭시Z 폴드2의 메인 디스플레이가 7.6인치니까 폴더블 아이폰의 디스플레이가 좀 더 큰 느낌입니다.
예상되는 출하량은 약 1500만~2000만대 가량으로 전망했습니다. 아이폰이 본격적으로 폴더블 시장에 진입하면서 태블릿과 스마트폰, PC의 경계가 모호해지며 각 제품들과 제조사의 경쟁이 더욱 더 치열해질것으로 예상됩니다. 지난해 출하된 220만대의 폴더블 스마트폰 중 190만대가 삼성전자의 제품으로 점유율이 87%에 달하는 상태입니다.