애플 팔찌형 에어팟 충전기 개발중?
애플이 무선 이어폰 '에어팟'의 충전기를 동그랗게 말아 팔찌처럼 손목에 찰 수 있는 '애플팔찌'를 연구 개발 중이라는 소식이 전해졌습니다. IT 전문 매체 애플인사이더에 따르면 애플이 팔찌형 에어팟 충전기와 관련된 특허를 특허청에 제출했다고 합니다. (관련 링크 : WIRELESS HEADPHONE ACCESSORY - United Sates Patent)
팔지형 에어팟 충전기
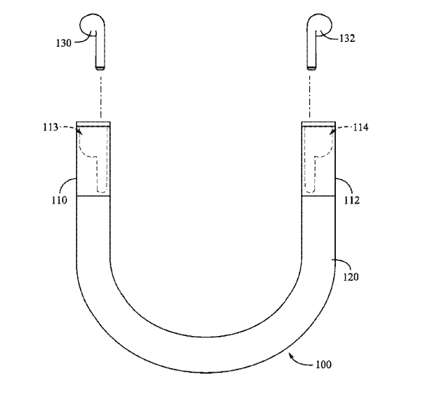
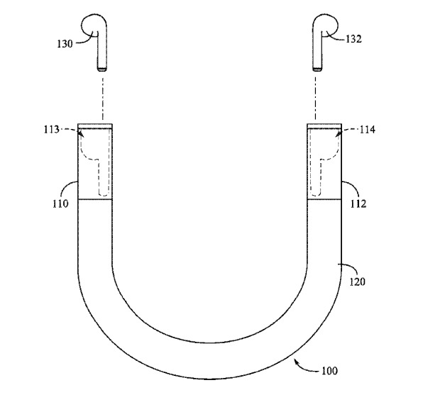
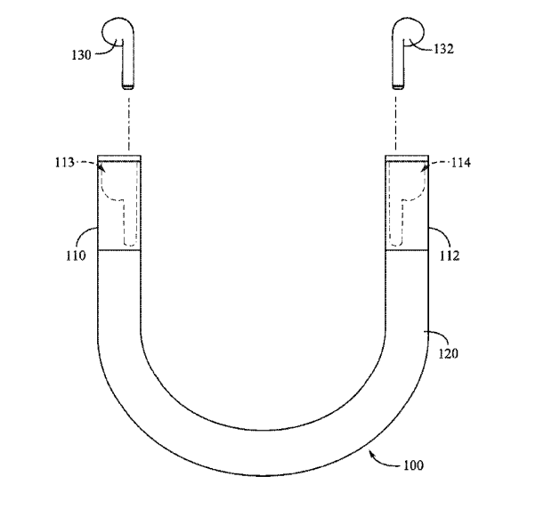
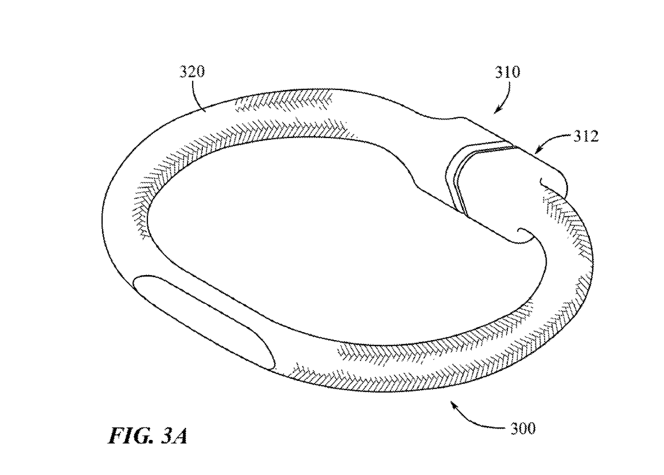
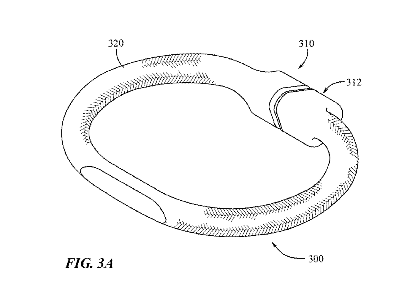
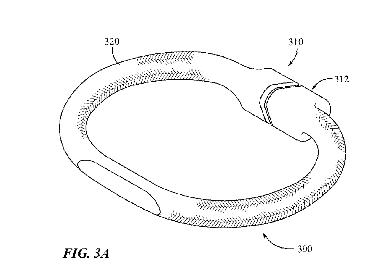
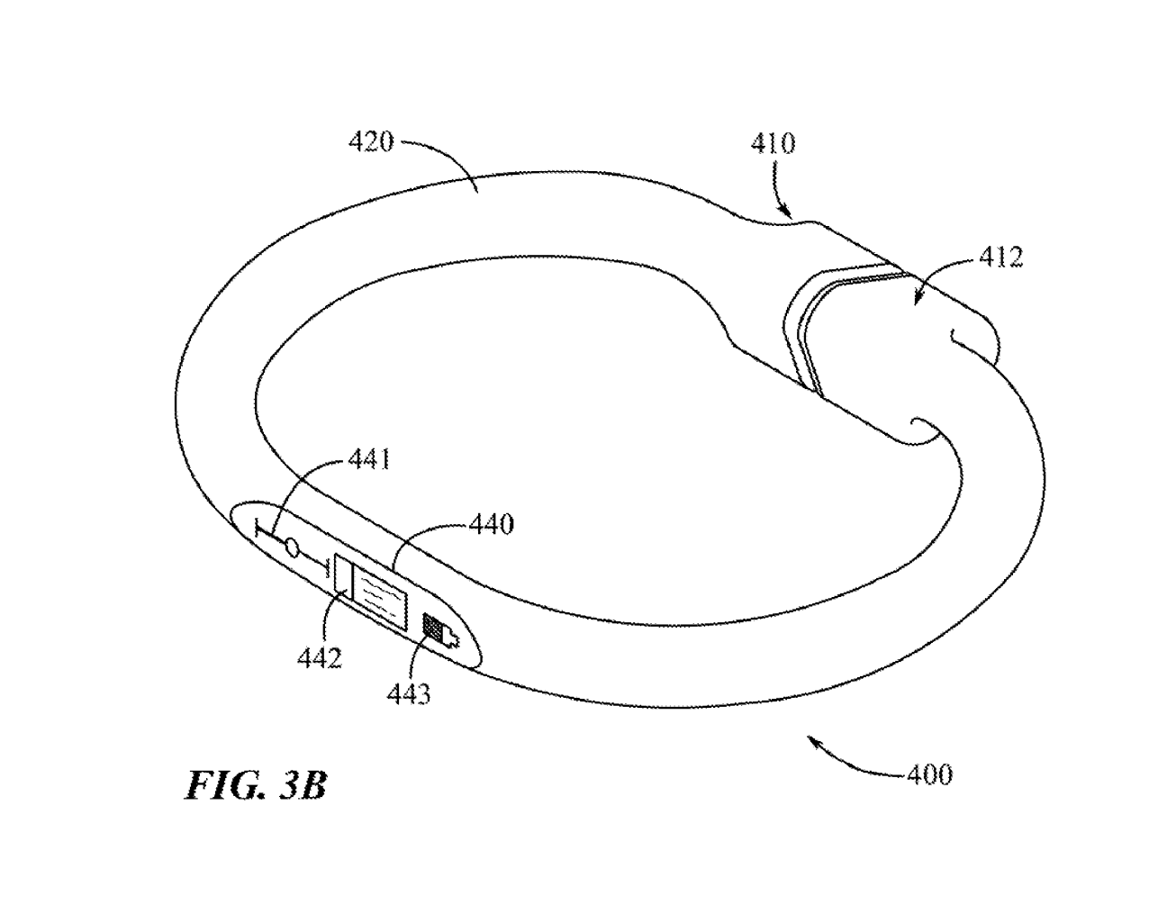
애플이 미국 특허청에 제출한 문서에 포함되어 있는 이미지를 보면 에어팟 충전용 액세서리를 동그랗게 말아 구부린 예시 이미지가 나와 있습니다. 알파벳 U자 형태의 끈 양 쪽에 구멍이 있어 이 곳에 에어팟 이어버드를 하나씩 넣고 동그랗게 말아서 팔찌형태로 만드는 식입니다.


현재 에어팟 제품들은 박스형 충전 케이스에 넣어서 보관 및 충전을 합니다. 가볍고 휴대하기 좋은 에어팟과 다르게 부피가 큰 에어팟 충전기는 가지고 다니기 번거롭고 분실의 우려도 높습니다. 백팩이나 가방을 가지고 다닌다면 그나마 다행이지만 주머니에 넣는다면 불룩한 주머니가 됩니다.
애플은 에어팟 충전 케이스의 이런 불편함을 해소하기 위해 팔찌형 액세서리를 대안으로 제시하려는 것 같습니다. 못 생긴 박스형 충전기 대신 손에 감고 다니는 패션 아이템의 형태로 충전기를 제공한다면 다른 브랜드와의 컬레버레이션을 통해 인기를 끌게 될 가능성도 높습니다.


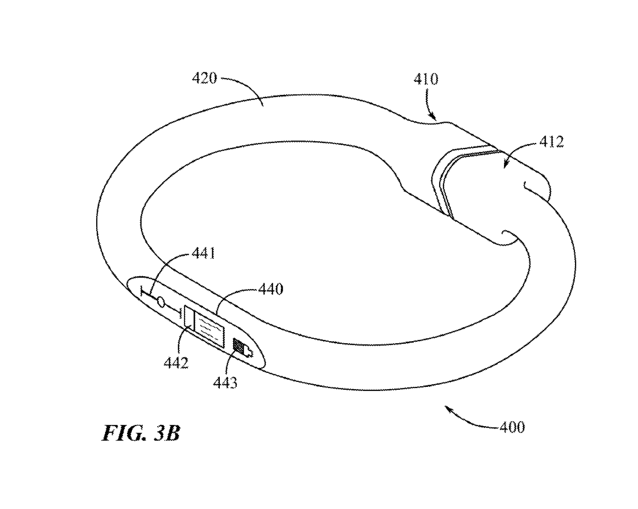
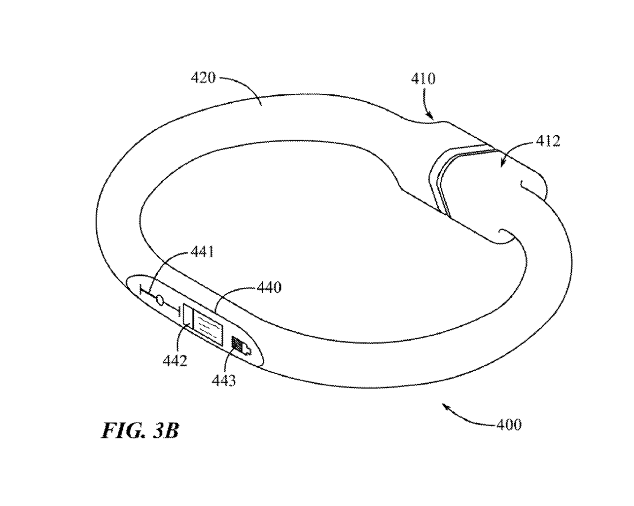
에어팟을 수납하는 부분의 반대편에는 작은 디스플레이가 탑재될 수도 있습니다. 이 디스플레이를 통해 배터리의 충전 수준과 현재 재생 중인 음악 목록 등의 정보가 표시될 수 있습니다.


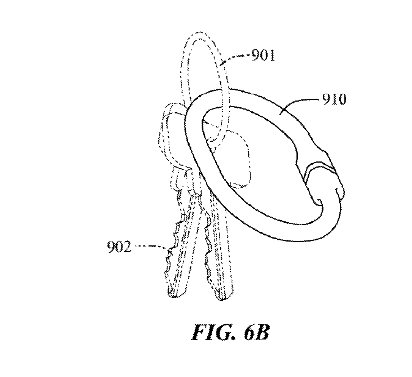
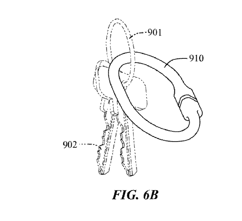
애플은 팔찌형 액세서리 이외에도 충전기를 둥글게말아 목걸이처럼 착용하는 형태, 가방의 어깨끈에 고정하는 형태, 키링 형태로 사용할 수 있는 가능성을 열어두고 있습니다. 둥글게 말아서 착용해 다양한 패션 아이템으로 활용할 수 있다고 제안합니다.
충전 케이스에는 스피커가 달려있어 목에 걸거나 가방에 걸어둔채 에어팟을 충전하면서 음악을 듣거나 전화통화를 할 수 있을 예정입니다.
물론 애플이 특허를 출원했다고 관련 제품이 무조건 출시되는 것은 아닙니다. 제품의 상용화를 염두에 두었다기보다는 선제적으로 기술을 확보하기 위함으로 보이긴합니다. 그래도 애플이 제품들에 어떤 생각을 가지고 연구개발을 진행하는지 엿볼수는 있습니다.
어떤 콜라보가 나올까?
팔찌형 충전기가 패션 아이템으로 사용되는걸 애플이 제안하고 있는데요. 아마도 애플워치 에르메스 에디션처럼 명품 브랜드와의 콜라보가 나오면 엄청 인기를 끌 것 같습니다.
이런 콜라보는 삼성전자가 적극적으로 잘 하는 것 같은데요. 애플 자체가 이미 브랜드 파워를 가지고 있지만 다른 브랜드와의 많은 협업을 통해서 다양한 에디션들이 나왔으면 좋겠습니다.