최근 업무용으로 아이패드 프로를 사용하게 되었는데요. 애플 펜슬과 함께 사용하는 아이패드는 그 동안 사용하던 볼펜과 연습장을 완벽하게 대체했습니다. 간단한 노트 필기와 업무상 커뮤니케이션을 하면서 잠깐잠깐 메모하던 것들이 모두 애플 펜슬을 이용한 노트 앱으로 대체되었습니다.
실제로 사용해보니 애플 펜슬의 사용성은 매우 뛰어난데요. 애플 펜슬에 '컬러 샘플링(Color Sampling)' 기능이 추가 될 수도 있을 것 같습니다.

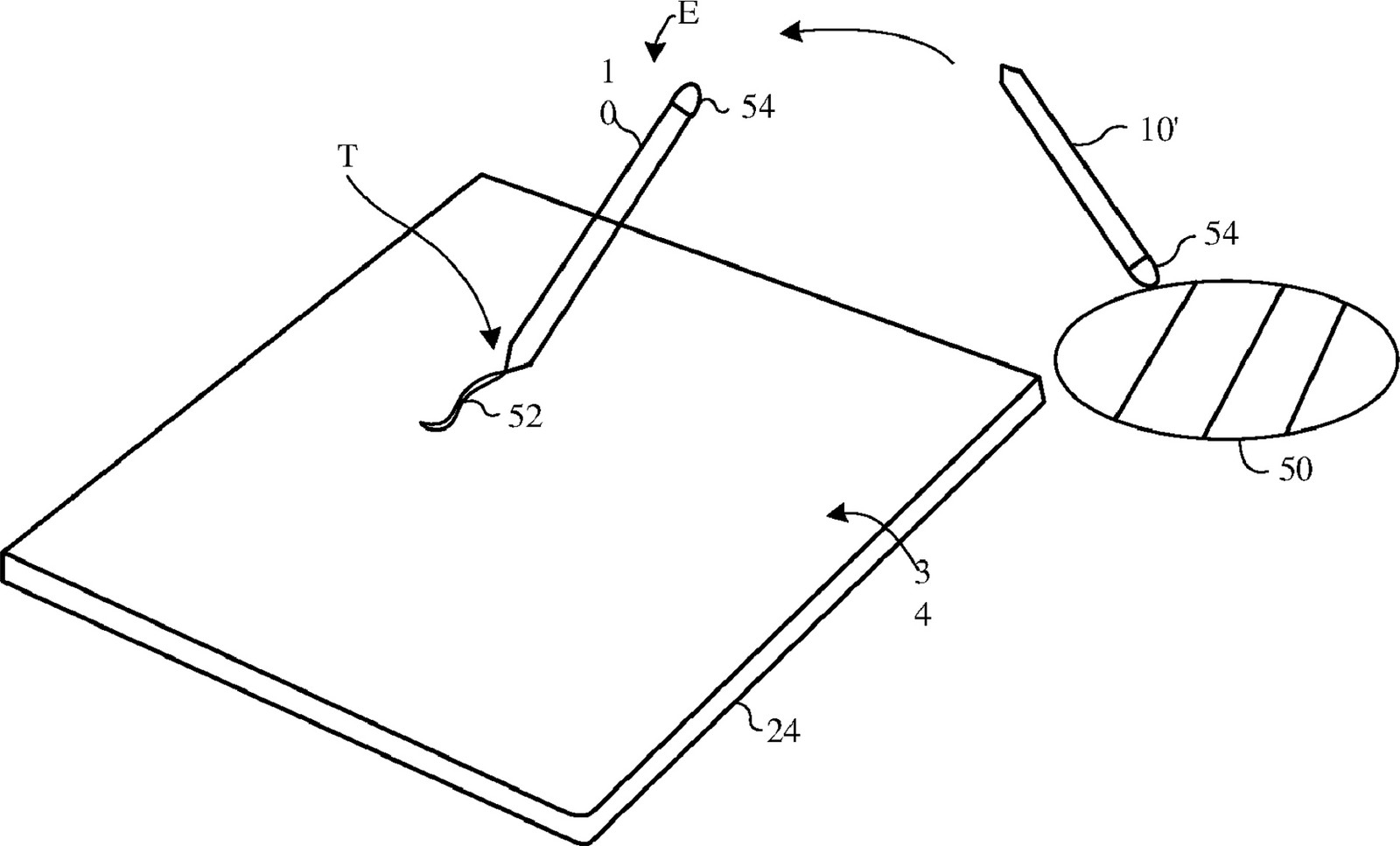
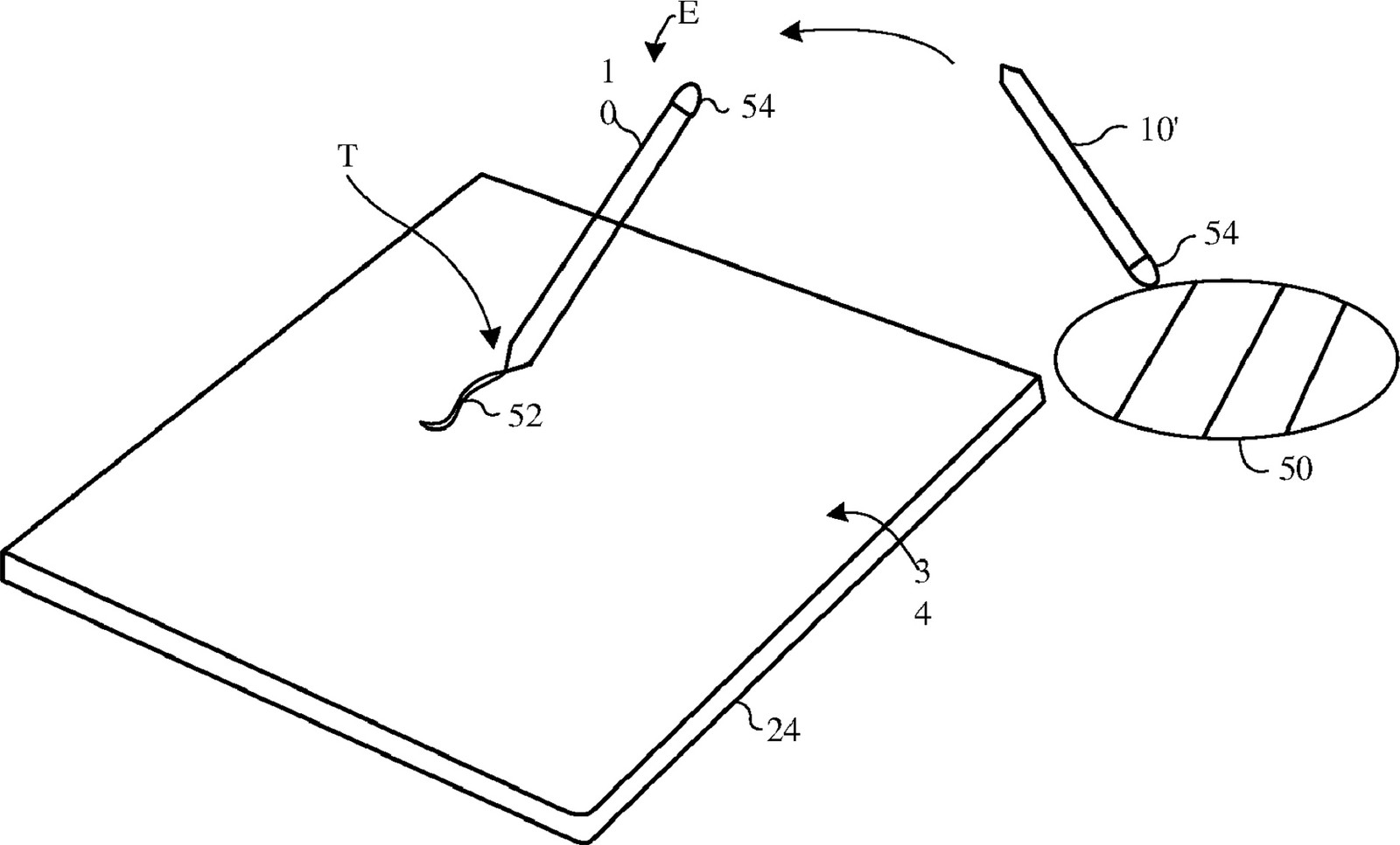
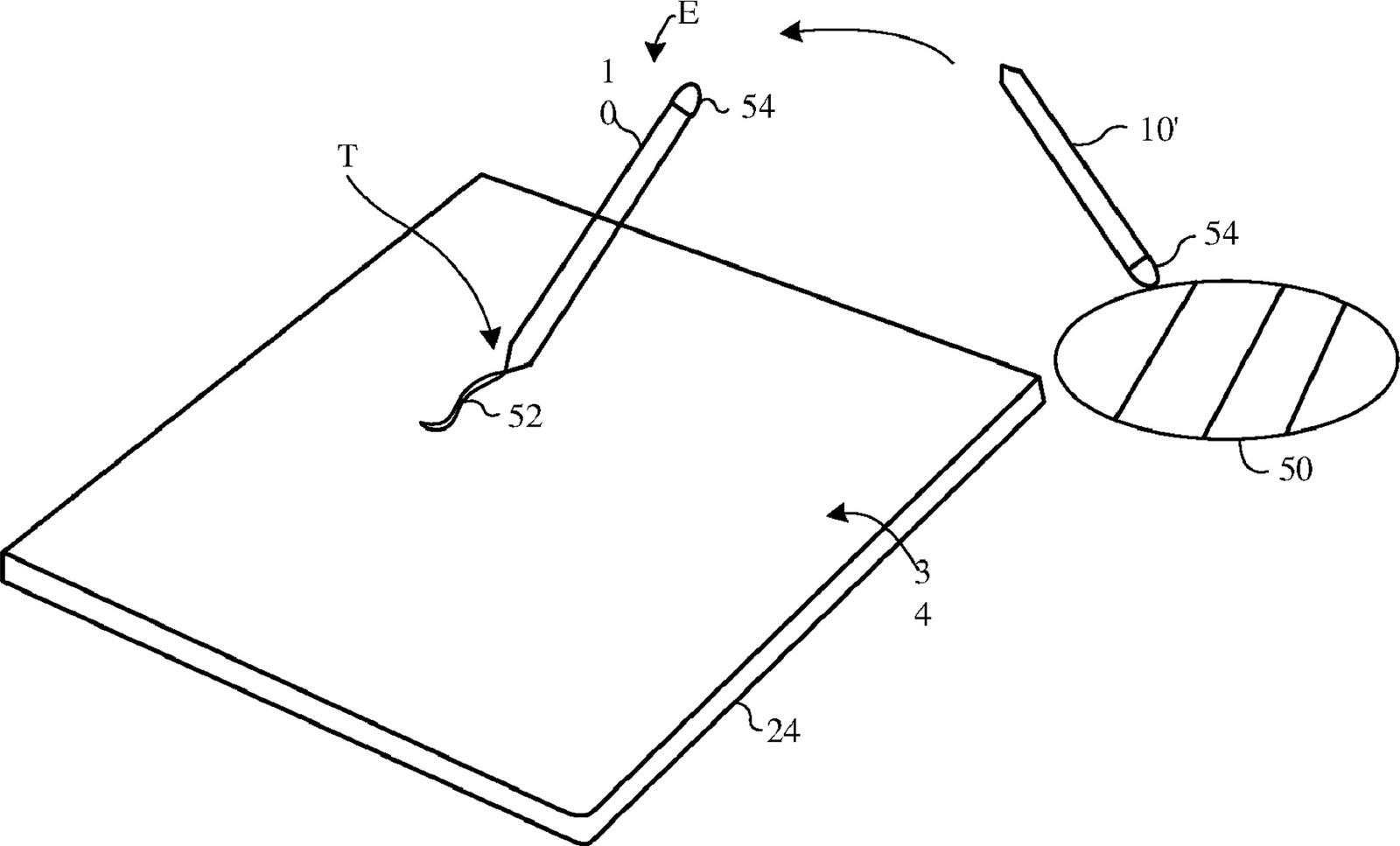
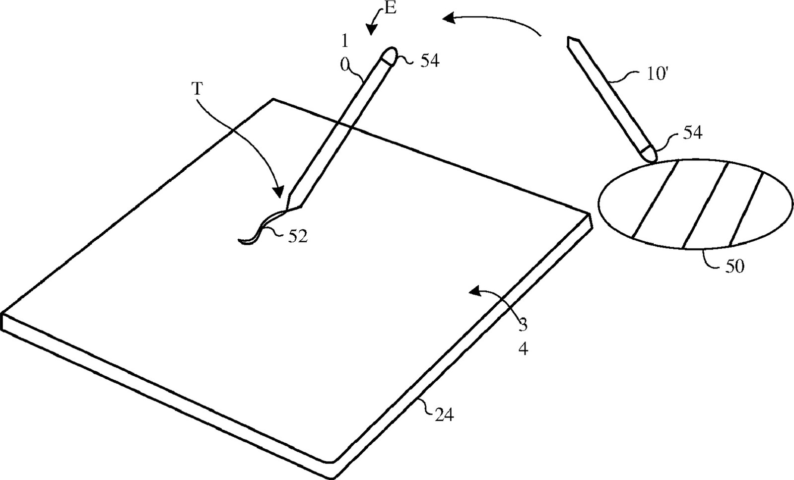
애플과 관련된 소식을 전하는 '맥루머(Mac Rumor)'에 의하면 애플이 애플 펜슬의 펜촉 부분에 컬러 샘플링 센서를 탑재하여 실세계의 색상을 샘플링 할 수 있는 기능에 대한 특허를 출원했다고 밝혔습니다. (링크 : Future Apple Pencil Could Have Sensor to Sample Colors From the Real World - Mac Rumors)
애플이 출원한 "컬러 샘플링 스타일러스가 있는 컴퓨터 시스템(Computer System With Color Sampling Stylus)"이라는 제목의 특허의 내용을 보면, 애플펜슬의 펜촉 부분에 있는 컬러 센서가 실세계의 색을 감지하여 색 정보를 얻어낼 수 있습니다.
애플 펜슬의 펜촉을 실세계의 물체에 가져가면 그 물체의 색상을 애플펜슬이 읽어들인 다음 정확한 색상 수치를 파악합니다. 이 색상 정보를 드로잉 앱이나 포토샵 앱의 '팔레트(Palette)'에서 바로 사용할 수 있도록 설정합니다.
저 같은 일반 사용자들이야 정확한 색상 정보를 얻을 필요는 없지만 아이패드로 그림을 그리거나 디자인을 하시는 분들은 정확한 색상 정보를 샘플링하는게 굉장히 중요할 수 있습니다. 이를 통해 사실적인 그림을 그릴 수 있게 되겠죠.

드로잉 앱의 컬러 샘플링 기능뿐만 아니라 디스플레이의 색상 설정 조정, 프린터의 설정 조정 등 다양한 곳에서 애플펜슬의 컬러 샘플링 펜촉 기능을 활용할 수 있을 것으로 보입니다.
실세계의 색상을 샘플링하는 기능을 애플이 처음 시도하는 것은 아닙니다. 이미 컬러 샘플링 센서와 응용 프로그래밍은 제법 많이 사용되고 있습니다. 하지만 애플 펜슬에 넣으면 아이패드라는 하드웨어 디바이스를 좀 더 잘 활용할 수 있게 되어 '컬러 샘플링' 기능이 빛을 발할 것 같습니다.
물론 애플이 특허 출원을 했다고 하더라도 실제 제품에 도입하지 않을 수도 있습니다. 특허는 특허일뿐 실제 제품 생산을 하기위해서는 센서의 단가도 맞아야 하고, 애플 펜슬의 크기가 지나지게 커져도 안됩니다. 또 생각보다 수요가 적을 수도 있습니다.
그래도 실제품으로 적용되면 좋을 것 같은 특허이긴 한것 같습니다.
댓글