애플이 '애플워치'에 재미있는 기능을 추진하고 있는 것 같습니다. 애플이 새롭게 출원한 두 개의 특허를 보면, 애플워치에 터치아이디(Touch ID)와 언더디스플레이 카메라의 추가를 연구하고 있는 것 같습니다.


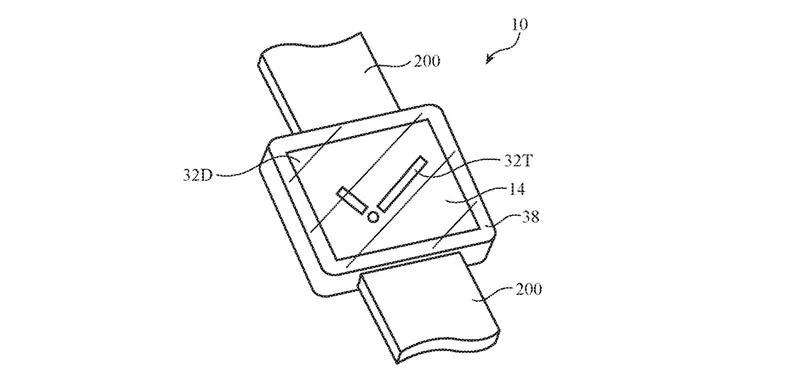
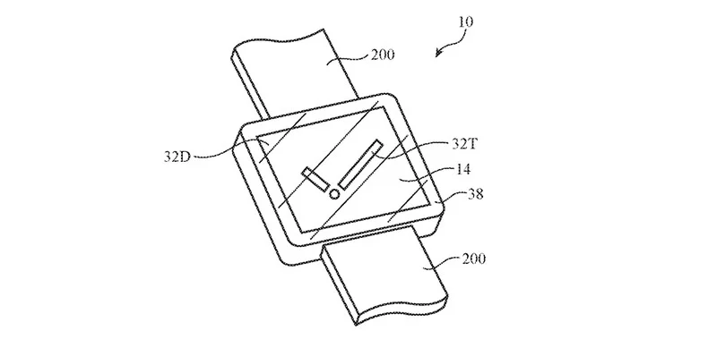
첫 번째 특허는 "Electronic device having sealed button biometric sensing system."라는 이름으로 출원되었습니다. 애플의 터치아이디 지문 스캐너를 애플워치의 측면 버튼에 통합하는 방안에 대한 내용입니다. 터치아이디를 통해 사용자를 식별하기도하고, 디바이스의 잠금을 해제하기도 하며, 앱의 실행 권한을 얻을 수도 있습니다.
애플 워치에 터치아이디를 탑재하여 애플 페이의 사용성을 증진시킬 수 있습니다. 애플워치로 결재하고 사인을 터치아이디를 통해서 하는 식이 되겠죠.
동작 방식은 아이패드 에어 4세대에서 처음으로 도입되었던 전원버튼 기반의 터치아이디와 유사합니다.


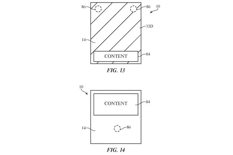
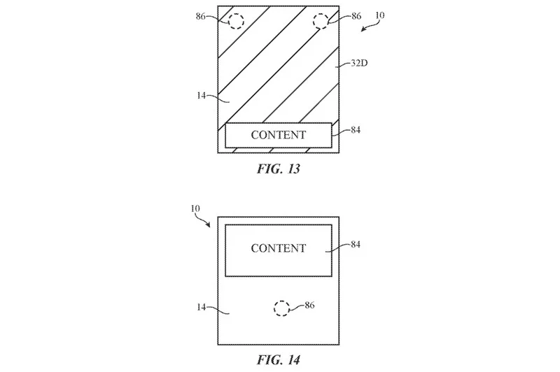
애플이 출원한 두번째 특허는 "Electronic devices with two-stage displays."라는 제목으로 출원되었습니다. 일부 스마트폰에 적용되기 시작한 언더디스플레이 카메라를 애플워치에 탑재하려는 시도를 읽을 수 있습니다.
현재는 카메라 모듈이 디스플레이 한쪽 혹은 스마트폰처럼 후면에 노출되어 있습니다. 외부에서 렌즈를 직접 볼 수 있죠. 하지만 언더디스플레이 카메라 기술은 디스플레이 뒷면에 카메라 모듈을 위치시킵니다. 그리고 필요할 때 디스플레이가 투명해지고, 카메라를 사용할 수 있게 되는 것이죠.
언더디스플레이 카메라 기술을 스마트폰에 도입하면 많은 사람들이 싫어하는 노치 디자인이나 펀치홀, 인피니티-O 디자인이 사라집니다. 대신 스마트폰의 앞면 전체가 디스플레이로 사용될 수 있죠.

흥미롭게도 애플은 애플워치에 이 기능을 도입하는 특허를 출원했습니다. 정확히는 두개의 레이어로 구성된 디스플레이 솔루션에 대한 내용으로 윗쪽에 있는 오버 레이어는 필요에 따라 투명해질 수 있으며, 투명해진 경우 언더레이어에 위치한 카메라가 이미지를 캡쳐할 수 있습니다.
뿐만 아니라 위쪽과 아래쪽 레이어가 각각 다르게 반응할 수 있다는 이점이 있습니다 .예를 들어 둘 중 한 레이어는 비디오나 애니메이션에 대해 빠르게 반응할 수 있는 디스플레이를 탑재하고, 다른 레이어에는 텍스트나 이미지같은 정적인 컨텐츠를 표시하는 고효율 디스플레이를 탑재할 수 있습니다. 이렇게 두 개의 레이어로 디스플레이를 구성해놓고 필요에 따라서 보이는 레이어를 다르게 구성할 경우 애플워치의 배터리 수명을 향상시킬 수 있습니다.
물론 특허출원이 반드시 제품의 기능 로드맵을 의미하는 것은 아닙니다. 하지만 애플이 연구하고 있는 미래 제품, 기능들을 살짝 엿볼 수는 있을 것 같습니다.
개인적으로 언더디스플레이 카메라 모듈은 아이폰에나 빨리 적용했으면 좋겠네요.
댓글